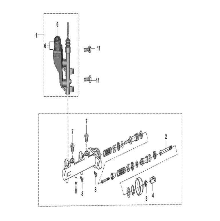
BOMBA DE FRENO.